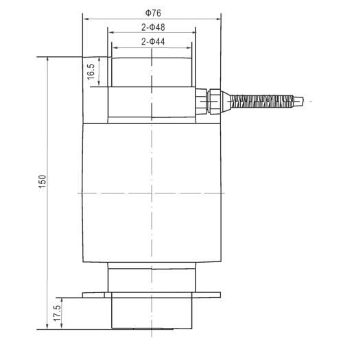
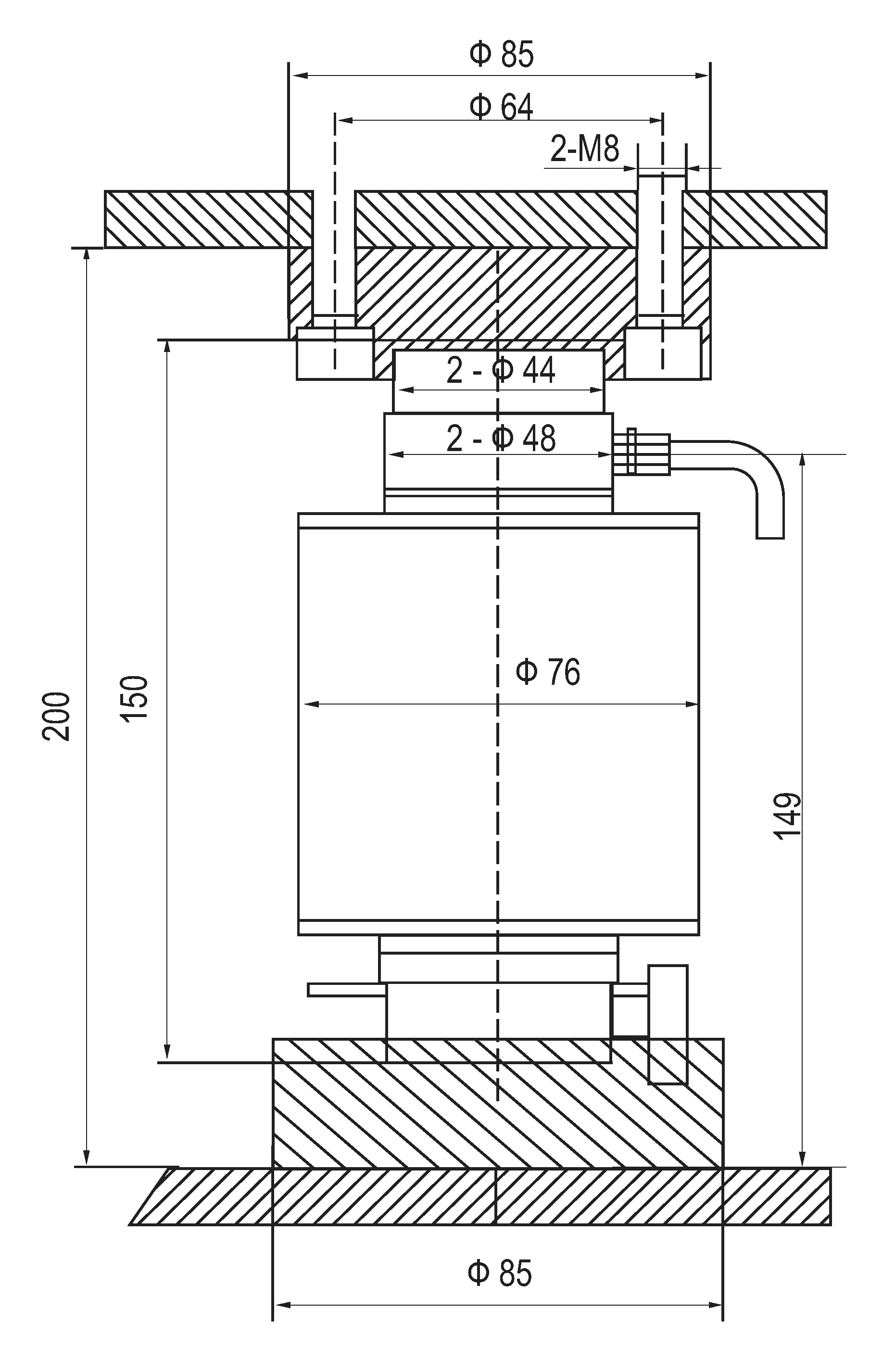
Датчик HM14H1 30т
12800 руб.
Тензометрический датчик для электронных автомобильных большегрузных весов, модель HM14H1. Диапазон нагрузок 30т.
Узел встройки в комплекте




